誰がこの機能を使用することができますか?
管理者/一部の権限グループ
概要
この記事では、HRMOS COREに登録されている社員情報のうち、単一レコード型(1:1)データをCSV一括登録・編集・削除する方法をご説明します。
※複数レコード型(1:N)データの一括登録・編集・削除方法は、
記事<複数レコード型データの一括登録/編集/削除(ファイル)>をご参照ください。
※単一レコード型・複数レコード型の概要や違いについては、
記事<データ管理の仕組み(データ階層・単一/複数レコード型・データ表示)>をご覧ください。
HRMOS COREにおいて、データのインポートやエクスポートをする際に扱うCSVファイルの文字コードは「UTF-8」に統一されています。
CSVファイルをインポートする際は、予め文字コードがUTF-8になっていることをご確認ください。
文字コードに関する詳細は<こちら>をご参照ください。
目次
CSV一括登録
・新たな履歴を追加する
・登録済みの履歴を修正する
・履歴を削除する
新たな履歴を追加する
新たな履歴を追加(=データの編集)する際の手順をご説明します。
履歴は「適用日」に紐付くデータを更新します。
CSVファイルに「適用日」が入力されており、その行に未入力の項目がある場合、
未入力部分は"データ無し"と判定され、空欄で更新されます。
未入力の項目に、追加入力したい場合は<登録済みの履歴を修正する>の手順をお試しください。
(例)2020年7月1日の履歴の上に2021年1月1日を追加する
1. Admin(管理画面)より「社員リスト」タブ >「社員の操作」>「社員の一括編集(ファイル)」をクリックします。
2. 社員の一括編集のファイルアップロード画面にて、編集したいカテゴリ・セクションを選択し、編集方法で「データの編集」を選択のうえ、テンプレートをダウンロードします。
3. ダウンロードしたテンプレートにデータを入力します。「適用日」は入力必須項目となります。
(適用日には、いつ時点の情報として登録したいかの日付を入力します)
例として、"標準報酬月額" と "等級" が変更になった社員について「適用日:2021/1/1」付で新たな履歴を追加します。
なお、13行目の社員については、テンプレートに "被保険者整理番号" と "資格取得年月日" の入力が漏れてしまったとします。
4. 社員の一括編集のファイルアップロード画面にて、手順2で編集したCSVファイルを選択し、右下の「アップロード」をクリックします。
5. 社員の一括編集のファイルの内容にエラーがなければ、「インポート」をクリックすると完了です。
※エラーメッセージが表示された際の対処方法は、記事<【エラーメッセージ集】CSVインポート時のエラー解消方法(社員登録・編集・削除)>をご参照ください。
6. インポート結果を確認します。
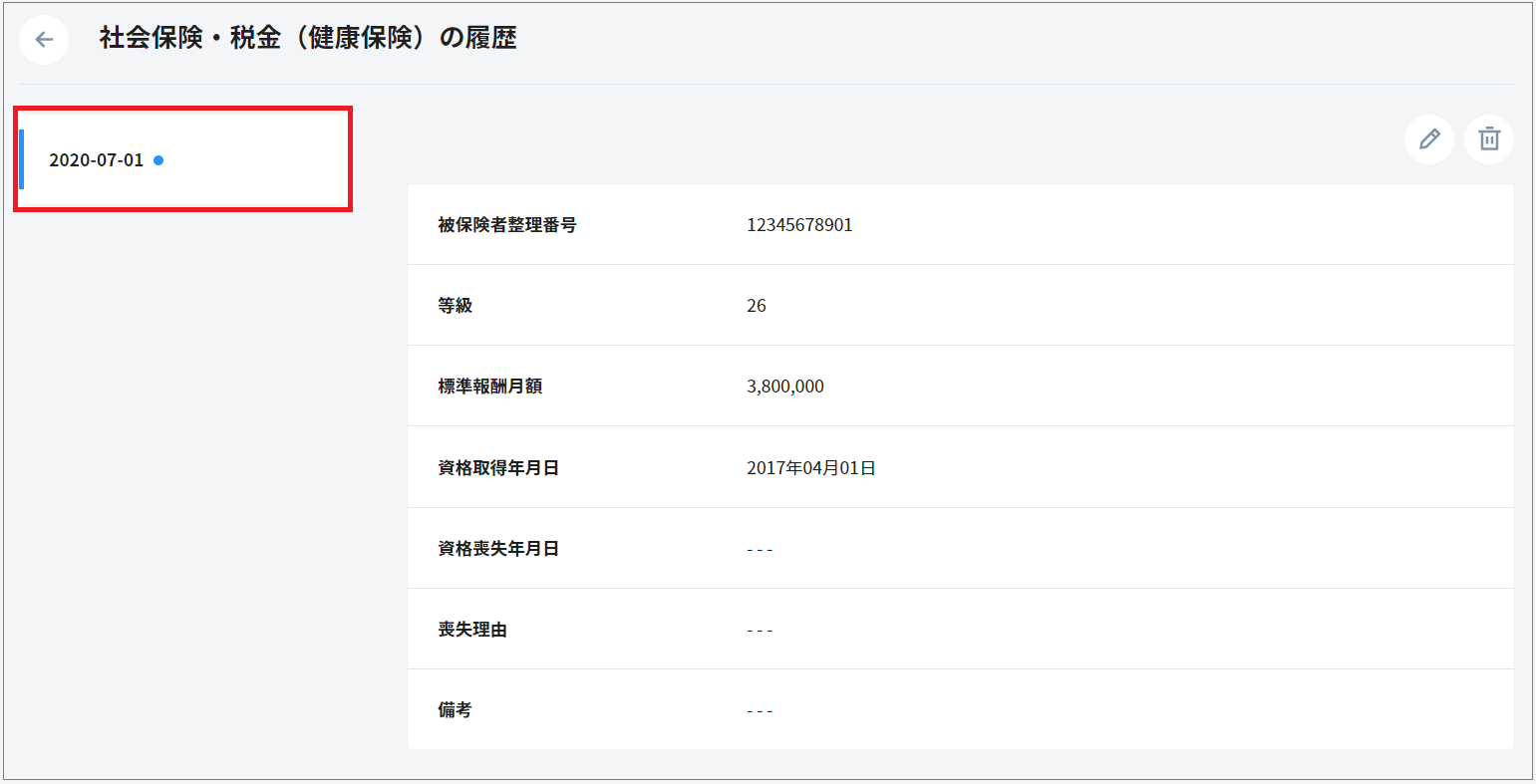
手順2にて、"被保険者整理番号" と "資格取得年月日" の登録が漏れてしまった社員の情報を確認します。
「適用日:2021/1/1」の履歴が作成されていますが、"被保険者整理番号" と "資格取得年月日" はブランクとなっています。
(一つ前の「適用日:2020/7/1」の履歴には、"被保険者整理番号" と "資格取得年月日" のデータが残っています)
このように、履歴は「適用日」に紐付くデータを更新します。
CSVファイルに「適用日」が入力されており、その行に未入力の項目がある場合、
未入力部分は"データ無し"と判定され、空欄で更新されます。
登録済みの履歴を修正する
登録済みの履歴を修正(=データの編集)する際の手順をご説明します。
(例)登録した2021年1月1日の抜けている部分を追記したい
1. 社員の一括編集のファイルアップロード画面にて編集したいカテゴリ・セクションを選択し、編集方法で「データの編集」を選択のうえ、テンプレートをダウンロードします。
例として、健康保険の "被保険者整理番号" と "資格取得年月日" の登録が漏れてしまった社員のデータを扱います。
2. ダウンロードしたテンプレートにデータを入力します。
・履歴は「適用日」に紐付くデータを更新します。
CSVファイルに「適用日」が入力されており、その行に未入力の項目がある場合、
未入力部分は"データ無し"と判定され、空欄で更新されます。
入力がない項目は「削除」とみなされ、ブランク(空欄)で更新されます。
・CSV一括登録では、履歴の「適用日」の変更はできません。
適用日を変更したい場合は、社員詳細画面 > 対象セクションの履歴画面より編集してくださ
い。詳細は、記事<履歴の登録/編集/削除(画面登録)- 履歴データの編集、適用日の変更>
をご参照ください。
例として、「適用日:2021/1/1」の履歴を修正します。
「適用日」に ”2021/1/1” と入力し、修正したい項目(黄色部分)と修正の必要がない項目を全て入力します。
3. 社員の一括編集のファイルアップロード画面にて、手順2で編集したCSVファイルを選択し、右下の「アップロード」をクリックします。
4. 社員の一括編集のファイルの内容にエラーがなければ、「インポート」をクリックすると完了です。
5. インポート結果を確認します。
健康保険の「適用日:2021/1/1」の履歴に、"被保険者整理番号" と "資格取得年月日" が追加されました。
履歴を削除する
登録済みの履歴(特定の適用日データ)を削除する手順をご説明します。
(例)登録した2021年1月1日の履歴を削除する
1. 社員の一括編集のファイルアップロード画面にて編集したいカテゴリ・セクションを選択し、編集方法で「データの削除」を選択のうえ、テンプレートをダウンロードします。
※「データの削除」のテンプレートは「データの編集」とは異なります。
2. ダウンロードしたテンプレートにデータを入力します。「データの削除」のテンプレートに入力する情報は「社員コード」と「適用日」のみです。
削除したい適用日がお間違いないかご確認ください。
3. 社員の一括編集のファイルアップロード画面にて、手順2で編集したCSVファイルを選択してアップロードします。
ファイルの内容にエラーがなければ、右下の「インポート」をクリックすると完了です。
4. インポート結果を確認します。
健康保険の「適用日:2021/1/1」の履歴が削除されました。
適用日に関する留意点
「雇用条件」「出向」「休職」「住所・通勤経路」セクション
上記セクションは、それぞれ "期間の開始日" をセクションで保持しているため、画面上・CSVテンプレート上で「適用日」というフィールドが存在しません。
そのため、「期間の開始日」=「適用日」となりますのでご注意ください。
また、”期間の終了日” は、新たに履歴を追加しても一つ前の履歴に自動入力されません。
終了日の入力が必要な場合は、CSV一括登録または社員詳細画面より登録してください。
「業務情報>基本情報」「業務情報>入社日」「個人情報>基本情報」セクション
上記セクションは、初めに社員登録を行った際に使用しているセクションです。そのため、社員登録時に作成された履歴データは、適用日が "初期設定" という値になっています。
"初期設定" は、システム登録上必須項目となっているため、他セクションと異なり最初の履歴を削除することができません。
上記セクションのデータをCSV一括登録にて修正する場合(社員登録時点のデータ修正を行う場合)は、テンプレートの適用日を "初期設定" ではなく ”1900/1/1” に置き換えて入力をお願いします。
社員詳細画面から修正する場合は、履歴画面にて "初期設定" を選択して編集してください。